| 货号 | 操作 | 名称 | 描述 | 工作波长 |
|---|
| 图片 | 名称 | 货号货期 | 描述 | 参数 | 价格 |
|---|
光学级硅通常规定为具有5至40ohm-cm的电阻率,其电阻率比大多数半导体的都高。 非常高的电阻率材料可客户定制,te别是对于TeraHertz应用。通常的材料为CZ,其在9μm具有Si-O吸收带,因此如果在3至5μm光谱带中使用该窗口,则此性质不重要。 如果需要FZ,可以提供没有这种吸收的浮区材料。
硅主要用作3至5um波段的光学窗口并用作光学滤波器的制片基底。 具有抛光面的大块硅也用作物理实验中的中子靶。
硅通过Czochralski拉伸技术(CZ)生长并且包含一些导致9um的吸收带的氧。 为了避免这种情况,硅可以通过浮区(FZ)工艺制备。 光学硅通常轻掺杂(5~40 Ohm cm),以在10um以上的波段最jia透射。 硅具有30至100um的另一通带,其仅在非常高电阻率的未补偿材料中有效。 掺杂通常是硼(p型)和磷(n型)。
透射范围: | 1.2-15μm |
折射率: | 3.4223 @5μm |
反射损耗: | 46.2% @5μm(2个表面) |
吸收系数: | 0.01cm -1 at 3μm |
吸收峰: | n / a |
dn / dT: | 160×10-6 /℃ |
dn /dμ= 0: | 10.4μm |
密度: | 2.33g / cc |
熔点: | 1420℃ |
热导率: | 273.3W m-1 K-1 |
热膨胀: | 2.6×10 -6 /℃ at 20℃ |
硬度: | Knoop 1150 |
比热容: | 703JKg-1K-1 |
介电常数: | 13 at 10GHz |
杨氏模量(E): | 131GPa |
剪切模量(G): | 79.9GPa |
体积模量(K): | 102GPa |
弹性系数: | C11 = 167; C12 = 65; C44 = 80 |
表观弹性极限: | 124.1MPa(18000 psi) |
泊松比: | 0.266 |
溶解性: | 不溶于水 |
分子量: | 28.09 |
类别/结构: | 立方钻,Fd3m (Cubic diamond, Fd3m) |
折射率:(No = Ordinary Ray 普通射线)
µm | No | µm | No | µm | No |
1.357 | 3.4975 | 1.367 | 3.4962 | 1.395 | 3.4929 |
1.5295 | 3.4795 | 1.660 | 3.4696 | 1.709 | 3.4664 |
1.813 | 3.4608 | 1.970 | 3.4537 | 2.153 | 3.4476 |
2.325 | 3.4430 | 2.714 | 3.4358 | 3.000 | 3.4320 |
3.303 | 3.430 | 3.500 | 3.4284 | 4.000 | 3.4257 |
4.258 | 3.4245 | 4.500 | 3.4236 | 5.000 | 3.4223 |
5.500 | 3.4213 | 6.000 | 3.4202 | 6.500 | 3.4195 |
7.000 | 3.4189 | 7.500 | 3.4186 | 8.000 | 3.4184 |
8.500 | 3.4182 | 10.00 | 3.4179 | 10.50 | 3.4178 |
11.04 | 3.4176 |

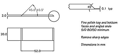
产品型号1: SICZPRISM52-20-2-45
IR Polished Silicon (Si) ATR prism (Attenuated Total Reflection)
52 x 20 x 2mm 45° ATR prism.
梯形

产品型号2: SICZPRISM80-10-4-45

IR Polished Silicon (Si) ATR prism (Attenuated Total Reflection)
80 x 10 x 4mm 45° ATR prism.
梯形

