close[X]
您的购物车
型号 数量 货期
查看购物车 结算

硅 Si 大光敏面四象限探测器 400-1100nm (光敏面直径10/16mm)  

硅 Si 大光敏面四象限探测器 400-1100nm (光敏面直径10/16mm)
器件是N型硅象限探测器,当光辐射到器件各个象限的辐射通量相等时,则各个象限输出的光电流相等。而当目标发生偏移时,由于象限间辐射通量的变化,引起各个象限的输出光电流的变化,由此可测出物体的方位,从而起到跟踪、制导的作用。


联系客服
 西北华中华东华南 Daisy
18602170419 同微信 可扫码  info@microphotons.com
 华北西南东北 Sherry
16628709332 同微信 可扫码  info@microphotons.com
产品型号 2
货号 操作 名称
E80040002  400-1100nm 四象限Si光电探测器(N型硅象限探测器 光敏面直径10mm 直流响应度0.3A/W)   [PDF] 光敏面直径 10mm;直流响应度 0.3A/W; 光敏材料 Si; 击穿电压 200V    价格 : 请联系客服 库存/货期:请咨询客服
E80040004  400-1100nm 四象限Si光电探测器(N型硅象限探测器 光敏面直径16mm 直流响应度0.3A/W)   [PDF] 光敏面直径 16mm;直流响应度 0.3A/W; 光敏材料 Si; 击穿电压 200V    价格 : 请联系客服 库存/货期:请咨询客服
总览

器件是N型硅象限探测器,当光辐射到器件各个象限的辐射通量相等时,则各个象限输出的光电流相等。而当目标发生偏移时,由于象限间辐射通量的变化,引起各个象限的输出光电流的变化,由此可测出物体的方位,从而起到跟踪、制导的作用。

产品特点

● 标低暗电流

● 高均匀性、高对称性    

● 高可靠性  

● 盲区小

产品应用

● 激光瞄准、制导跟踪及探索装置

● 激光微定位、位移监控等精密测量系统

通用参数


特性参数

符号

测试条件

(除另有规定外,TA=22℃±3℃)

参数值

Min. 值

典型值

Max. 值

响应度(交流)(象限)

Spi

λ=1.064μm

VR=135 V

脉宽20 ns、Pin=2 mW

0.25

A/W

响应度(直流)(象限)

Rei

直流、Pin=1μw

0.30

响应度变化量(直流) (象限)a

响应度变化量(交流) (象限)a

ΔRei

TA=-45 ℃±2 ℃

50

%

暗电流(象限)

IDi

VR=135V

Pin=0μw

TA=22℃±3℃

1

μA

TA=70℃±3℃

10

暗电流(环)

ID

TA=22℃±3℃

10

TA=70℃±3℃

100

结电容(象限)

Cji

VR=135V,f=1MHz

15

pF

光敏面直径

φ


10

16

mm

等效噪声功率

NEPi

λ=1.064 μm,VR=135 V ,脉宽20 ns

5×10-12

W/HZ1/2

击穿电压(象限、环)

VBR

IR=10μA

200

V

象元间灵敏度非均匀性

Rf

λ=1.064 μm,VR=135 V ,脉宽20 ns;Pin=2mW

5

%

象元内灵敏度非均匀性

Rfn

λ=1.064 μm,VR=135 V ,脉宽20 ns;Pin=2mW

5

%

象元间窜扰因子

SLi

λ=1.064 μm,VR=135 V ,脉宽20 ns;Pin=2mW

5

%

像元间隔(element gap)0.2mm



光谱响应曲线


QQ图片20230208154925.jpg


外形结构

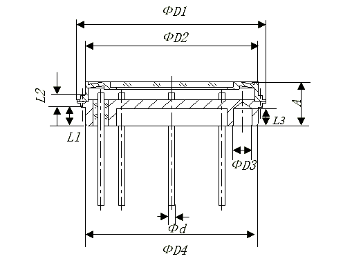
TO型气密性封装。外形结构见图1,外形尺寸见表1。

2345截图20191014101445.png

2345截图20191014101905.png

表1、外形尺寸(单位为毫米)

尺寸符号

φD1

ΦD2

ΦD3

ΦD4

ΦD5

Φd

A

L1

L2

L3

e

Min. 值

30.55

27.80

3.00

27.915

22.60

0.98

7.03

3.02

1.85

2.70

18.00

Max. 值

30.65

28.00

3.06

27.94

23.40

1.02

7.20

3.10

1.95

3.00

18.05


引出端排列

器件的引出端排列见图2,引出端功能应符合表2的规定。

2345截图20191014103311.png

表2、引出端功能表


管脚

功能

电压极性

1

象限1

2

公共P极

3

象限4

4

环极

5

象限3

6

壳体

7

象限2














使用本网站,即表示您同意我们使用cookie.它可以帮助更好地提供会员服务以及短时间内记录您的浏览记录
已知晓 了解详情
提示